Государственный реестр средств измерений (ГРСИ)

Система измерений количества и показателей качества нефти СИКН № 397 на ПСП «Енисей» , 98280-26

Система измерений количества и показателей качества нефти СИКН № 397 на ПСП «Енисей» (далее - СИКН) предназначена для автоматизированных измерений массы нефти.
Карточка СИ
Номер в госреестре 98280-26
Наименование СИ Система измерений количества и показателей качества нефти СИКН № 397 на ПСП «Енисей»
Изготовитель Общество с ограниченной ответственностью «Енисей»
Год регистрации 2026
МПИ (интервал между поверками) 1 год
Описание типа скачать
Методика поверки скачать

Назначение

Система измерений количества и показателей качества нефти СИКН № 397 на ПСП «Енисей» (далее - СИКН) предназначена для автоматизированных измерений массы нефти.

Описание

Принцип действия СИКН основан на использовании прямого метода динамических измерений массы брутто нефти с помощью преобразователей массового расхода. Выходные электрические сигналы с преобразователей массового расхода поступают на соответствующие входы измерительно-вычислительного комплекса, который преобразует их и вычисляет массу брутто нефти по реализованному в нем алгоритму.

СИКН, заводской № 397, представляет собой единичный экземпляр измерительной системы, спроектированной для конкретного объекта из компонентов серийного отечественного и импортного изготовления. Монтаж и наладка СИКН осуществлены непосредственно на объекте эксплуатации в соответствии с проектной документацией на СИКН и эксплуатационными документами на ее компоненты.

СИКН состоит из:

- блока фильтров;

- блока измерительных линий (БИЛ), включающий в себя одну рабочую и одну резервную измерительные линии;

- блока измерений показателей качества нефти (далее - БИК);

- поверочной установки (ПУ);

- узла регулирования давления;

- системы сбора и обработки информации.

В составе СИКН применены средства измерений (СИ) утвержденных типов, которые указаны в таблице 1.

Таблица 1 - Состав СИКН

Наименование и тип СИ

Регистрационный номер в Федеральном информационном фонде по обеспечению единства измерений

Счетчики-расходомеры массовые Micro Motion модели CMF 300 (далее - СРМ)

13425-01

Преобразователи давления измерительные 3051

14061-99

Термопреобразователи сопротивления платиновые серии 65

22257-01

Преобразователи измерительные Rosemount 248

28034-05

Датчики температуры 644

39539-08

Преобразователи измерительные 444 к датчикам температуры

14684-00

Влагомеры нефти поточные УДВН-1пм

14557-05

Влагомеры поточные модели L

25603-03

Преобразователи плотности жидкости измерительные модели 7835

15644-01

15644-06

Преобразователи плотности жидкости Promass Q 300

76031-19

Установка поверочная «ВСР-М»

18099-99

Комплексы измерительно-вычислительные ТН-01

67527-17

В состав СИКН входят показывающие средства измерений давления и температуры нефти утвержденных типов. В БИК установлен преобразователь расхода для контроля выполнения условий изокинетичности пробоотбора.

Часть СИ, входящих в состав СИКН, формируют вспомогательный измерительный канал (ИК) массового расхода нефти, метрологические характеристики которых определяются покомпонентным (поэлементным) или комплектным методом.

СИКН обеспечивает выполнение следующих основных функций:

- автоматическое измерения массы брутто нефти прямым методом динамических измерений в рабочем диапазоне расхода, температуры, давления и плотности;

- автоматическое измерение температуры, давления (избыточное, дифференциальное), плотности и объемной доли воды в нефти;

- измерение температуры и давления нефти с применением показывающих средств измерений температуры и давления соответственно;

- возможность проведения контроля метрологических характеристик (КМХ) и поверки рабочего и резервного СРМ по ПУ;

- вычисление массы нетто нефти, как разности массы брутто нефти и массы балласта, используя результаты измерений массовых долей воды, механических примесей и массовой доли концентрации хлористых солей, полученных в аккредитованной испытательной лаборатории;

- автоматический и ручной отбор проб согласно ГОСТ 2517-2012 «Нефть и нефтепродукты. Метод отбора проб»;

- защита информации от несанкционированного доступа программными средствами.

При использовании комплектного метода определения метрологических характеристик ИК массового расхода нефти, для исключения возможности несанкционированного вмешательства, которое может повлиять на результат измерений, конструкцией СРМ, входящего в состав ИК массового расхода нефти, предусмотрены места установки пломб. Пломбирование СРМ, входящего в состав ИК массового расхода нефти выполняется на месте эксплуатации в соответствии с МИ 3002-2006.

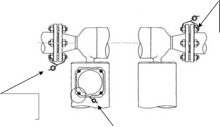
Схема пломбирования от несанкционированного доступа с местами установки пломб представлена на рисунке 1.

Место установки пломбы

Место установки пломбы

Место установки пломбы

Рисунок 1 - Схема пломбирования от несанкционированного доступа с местами установки пломб

Пломбирование СИКН предусмотрено при определении метрологических характеристик массового расхода нефти.

Заводской номер СИКН нанесен типографским способом на информационную табличку, представленной на рисунке 2, закрепленную на площадке СИКН. Формат нанесения заводского номера - цифровой. Нанесение знака поверки на СИКН не предусмотрено.

Рисунок 2 - Информационная табличка СИКН

Программное обеспечение

Программное обеспечение (ПО) СИКН обеспечивает реализацию функций СИКН.

Защита ПО СИКН от непреднамеренных и преднамеренных изменений и обеспечение его соответствия утвержденному типу осуществляется путем идентификации, защиты от несанкционированного доступа.

ПО СИКН защищено от несанкционированного доступа, изменения алгоритмов и установленных параметров системой идентификации пользователя.

Уровень защиты ПО «высокий» в соответствии с Р 50.2.077-2014. Идентификационные данные ПО СИКН приведены в таблице 2.

Таблица 2 - Идентификационные данные ПО СИКН

Идентификационные данные (признаки)

Значение

Идентификационное наименование ПО

AnalogConverter. app

Номер версии (идентификационный номер) ПО

1.2.14.1

Цифровой идентификатор ПО

9319307D

Идентификационное наименование ПО

SIKNCalc.app

Номер версии (идентификационный номер) ПО

1.7.14.3

Цифровой идентификатор ПО

17D43552

Идентификационное наименование ПО

Sarasota.app

Номер версии (идентификационный номер) ПО

1.1.14.18

Цифровой идентификатор ПО

5FD2677A

Идентификационное наименование ПО

PP_78xx.app

Номер версии (идентификационный номер) ПО

1.1.14.20

Цифровой идентификатор ПО

CB6B884C

Идентификационное наименование ПО

MI1974.app

Номер версии (идентификационный номер) ПО

1.6.14.11

Цифровой идентификатор ПО

116E8FC5

Идентификационное наименование ПО

MI3233.app

Номер версии (идентификационный номер) ПО

1.1.14.28

Цифровой идентификатор ПО

3836BADF

Идентификационное наименование ПО

MI3265.app

Номер версии (идентификационный номер) ПО

1.6.14.3

Цифровой идентификатор ПО

4EF156E4

Идентификационное наименование ПО

MI3266.app

Номер версии (идентификационный номер) ПО

1.6.14.6

Цифровой идентификатор ПО

4D07BD66

Идентификационное наименование ПО

MI3267.app

Номер версии (идентификационный номер) ПО

1.6.14.5

Цифровой идентификатор ПО

D19D9225

Идентификационное наименование ПО

MI3287.app

Номер версии (идентификационный номер) ПО

1.6.14.4

Цифровой идентификатор ПО

3A4CE55B

Идентификационное наименование ПО

MI3312.app

Номер версии (идентификационный номер) ПО

1.1.14.30

Продолжение таблицы 2

Идентификационные данные (признаки)

Значение

Цифровой идентификатор ПО

E56EAB1E

Идентификационное наименование ПО

MI3380.app

Номер версии (идентификационный номер) ПО

1.6.14.12

Цифровой идентификатор ПО

23F21EA1

Идентификационное наименование ПО

KMH_PP.app

Номер версии (идентификационный номер) ПО

1.1.14.17

Цифровой идентификатор ПО

71C65879

Идентификационное наименование ПО

KMH_PP_AREOM.app

Номер версии (идентификационный номер) ПО

1.3.14.1

Цифровой идентификатор ПО

62C75A03

Идентификационное наименование ПО

MI2816.app

Номер версии (идентификационный номер) ПО

1.1.14.5

Цифровой идентификатор ПО

B8DF3368

Идентификационное наименование ПО

MI3151.app

Номер версии (идентификационный номер) ПО

1.1.14.21

Цифровой идентификатор ПО

F3B1C494

Идентификационное наименование ПО

KMH_MPR_MPR.app

Номер версии (идентификационный номер) ПО

1.1.14.4

Цифровой идентификатор ПО

6A8CF172

Идентификационное наименование ПО

MI3272.app

Номер версии (идентификационный номер) ПО

1.1.14.50

Цифровой идентификатор ПО

232DDC3F

Идентификационное наименование ПО

MI3288.app

Номер версии (идентификационный номер) ПО

1.1.14.14

Цифровой идентификатор ПО

32D8262B

Идентификационное наименование ПО

MI3155.app

Номер версии (идентификационный номер) ПО

1.1.14.30

Цифровой идентификатор ПО

F70067AC

Идентификационное наименование ПО

MI3189.app

Номер версии (идентификационный номер) ПО

1.1.14.21

Цифровой идентификатор ПО

35DD379D

Идентификационное наименование ПО

KMH_PV.app

Номер версии (идентификационный номер) ПО

1.1.14.1

Цифровой идентификатор ПО

9F5CD8E8

Идентификационное наименование ПО

KMH_PW.app

Номер версии (идентификационный номер) ПО

1.1.14.2

Цифровой идентификатор ПО

5C9E0FFE

Продолжение таблицы 2

Идентификационные данные (признаки)

Значение

Идентификационное наименование ПО

MI2974.app

Номер версии (идентификационный номер) ПО

1.1.14.21

Цифровой идентификатор ПО

AB567359

Идентификационное наименование ПО

MI3234.app

Номер версии (идентификационный номер) ПО

1.1.14.34

Цифровой идентификатор ПО

ED6637F5

Идентификационное наименование ПО

GOSTR8908.app

Номер версии (идентификационный номер) ПО

1.1.14.33

Цифровой идентификатор ПО

8D37552D

Примечания:

1. Допускается ограничивать количество программных модулей ИВК в зависимости от функционального назначения в применяемой измерительной системе.

2. Цифровой идентификатор ПО представлен в шестнадцатеричной системе счисления в виде буквенно-цифрового кода, регистр букв при этом может быть представлен в виде прописных или строчных букв, при этом значимым является номинал и последовательность расположения цифр или букв.

3. Алгоритм вычисления цифрового идентификатора - CRC32

Технические характеристики

Таблица 3 - Метрологические характеристики СИКН

Наименование характеристики

Значение

Диапазон измерений расхода нефти*, т/ч

от 43 до 146

Пределы допускаемой относительной погрешности измерений массы брутто нефти, %

±0,25

Пределы допускаемой относительной погрешности измерений массы нетто нефти, %

±0,35

*Указаны минимальное и максимальное значения диапазона измерений. Фактический диапазон измерений определяется при проведении поверки СИКН и не может выходить за пределы приведенного диапазона измерений.

Таблица 4 - Состав и основные метрологические характеристики ИК

Наименование

Количест во ИК (место установки )

Состав ИК

Диапазон измерений *, т/ч

Пределы допускаемой относительно й погрешности

Первичный измерительный преобразователь

Вторична я часть

1

ИК массового расхода нефти

1 (ИЛ №1)

СРМ

ИВК

от 43 до 146

±0,25%

2

ИК массового расхода нефти

1 (ИЛ №

2)

СРМ

ИВК

от 44 до 146

±0,25%

*Указан максимальный диапазон измерений. Фактический диапазон измерений определяется при определении метрологических характеристик соответствующего ИК массового расхода нефти и не может выходить за пределы приведенного диапазона измерений.

Таблица 5 - Основные технические характеристики СИКН

Наименование характеристики

Значение

Измеряемая среда

нефть по ГОСТ Р 51858-2002 «Нефть. Общие технические условия»

Диапазон избыточного давления нефти, МПа

от 0,15 до 1,6

Физико-химические свойства измеряемой среды:

- вязкость кинематическая в рабочем диапазоне температуры, мм2/с (сСт), не более

- плотность нефти в рабочем диапазоне температуры, кг/м3

- температура перекачиваемой нефти, °С

- массовая доля воды, %, не более

- массовая концентрация хлористых солей, мг/дм3, не более

- массовая доля механических примесей, %, не более

40

от 820 до 870 от +45 до +55 0,5

100 0,05

Содержание свободного газа

не допускается

Режим работы СИКН

непрерывный

Параметры электрического питания:

- напряжение переменного тока, В

- частота переменного тока, Гц

380±38 (трехфазное); 220±22 (однофазное)

50±1

Условия эксплуатации:

- температура воздуха внутри помещения БИЛ, БИК, ПУ, °С

от +10 до +40

Таблица 6 - Показатели надежности СИКН

Наименование характеристики

Значение

Срок службы, лет, не менее

20

Знак утверждения типа

наносится на титульный лист инструкции по эксплуатации СИКН типографским способом.

Комплектность

Таблица 7 - Комплектность СИКН

Наименование

Обозначение

Количество, шт./экз.

Система измерений количества и показателей качества нефти СИКН № 397 на ПСП «Енисей»

_

1 шт.

Инструкция по эксплуатации

_

1 экз.

Методика поверки

_

1 экз.

Сведения о методах измерений

приведены в документе «Инструкция. Масса нефти. Методика измерений системой измерений количества и показателей качества нефти № 397 ООО «Енисей»», свидетельство об аттестации методики (метода) измерений № 535-RA.RU.312546-2023 от 23.09.2025.

Нормативные документы

Постановление Правительства Российской Федерации от 16 ноября 2020 г. № 1847 «Об утверждении перечня измерений, относящихся к сфере государственного регулирования обеспечения единства измерений» пункт 6.1.1;

Приказ Росстандарта от 26 сентября 2022 года № 2356 «Об утверждении Государственной поверочной схемы для средств измерений массы и объема жидкости в потоке, объема жидкости и вместимости при статических измерениях, массового и объемного расходов жидкости».

Номер в ГРСИ РФ:
98280-26
Производитель / заявитель:
Общество с ограниченной ответственностью «Енисей»
Год регистрации:
2026
Похожие СИ
98268-26
98268-26
2026
Guoyi (Beijing) Analytical Instrument Co., LTD
Срок действия реестра: 16.04.2031
98270-26
98270-26
2026
«NCS Testing Technology (Germany) GmbH»
Срок действия реестра: 16.04.2031
98271-26
98271-26
2026
Hunan Next Generation Instrumental Т&С Tech. Co., Ltd
Срок действия реестра: 16.04.2031
98272-26
98272-26
2026
«Mettler Toledo (Changzhou) Measurement Technology Ltd.»
Срок действия реестра: 16.04.2031
98273-26
98273-26
2026
K-MET
Срок действия реестра: 16.04.2031
98274-26
98274-26
2026
Индивидуальный предприниматель Титова Анастасия Вячеславовна
Срок действия реестра: 16.04.2031
98275-26
98275-26
2026
«Chongqing Aurumsense Security Instrument System Co., LTD.».
Срок действия реестра: 16.04.2031