Государственный реестр средств измерений (ГРСИ)

ПАО "ННК-Хабаровскнефтепродукт, г. Хабаровск

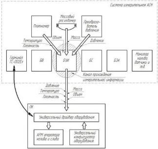
Поверяемое оборудование
31305-11 31305-11 2011 Комплексы измерительные АСН 78 поверок 81175-21 81175-21 2021 Резервуары вертикальные стальные цилиндрические РВС 47 поверок 69621-17 69621-17 2017 Резервуары стальные вертикальные цилиндрические РВС-400, РВС-1000, РВС-2000, РВС-3000, РВС-5000 22 поверки 66222-16 66222-16 2016 Прицепы-цистерны, полуприцепы-цистерны, полуприцепы-топливозаправщики СЕСПЕЛЬ-ПЦ, СЕСПЕЛЬ-ППЦ, СЕСПЕЛЬ-ППТЗ 22 поверки 74774-19 74774-19 2019 Прицепы-цистерны и полуприцепы-цистерны GRAZ-ГРАЗ-ПЦ и GRAZ-ГРАЗ-ППЦ 17 поверок 67855-17 67855-17 2017 Резервуары стальные вертикальные цилиндрические с защитной стенкой РВСПзс-1000, РВСПзс-2000, РВСПзс-3000 17 поверок 13636-00 13636-00 2000 Автоцистерны и прицепы-цистерны для транспортирования нефтепродуктов 6606, 66061, 66062, 5619 (автоцистерны) и 8602 (прицепы) 10 поверок 60596-15 60596-15 2015 Системы измерительные АСН 9 поверок 76114-19 76114-19 2019 Автоцистерны АЦ-22 8 поверок 43723-10 43723-10 2010 Комплексы топливозаправочные ТЗК-100ХХХХММ 8 поверок 61462-15 61462-15 2015 Резервуары стальные сварные горизонтальные РГС и РГСД 6 поверок 82538-21 82538-21 2021 Системы измерений массы нефтепродуктов в резервуарах "Franklin Fueling Systems" 5 поверок 70871-18 70871-18 2018 Системы измерительные АСН-15 4 поверки 43417-09 43417-09 2009 Полуприцепы-цистерны БЦМ-180 мод. 960512, БЦМ-180.1 мод. 960512-01 4 поверки 40183-08 40183-08 2008 Автоцистерны БЦМ-174 мод. 56475-01 4 поверки 70411-18 70411-18 2018 Резервуары стальные вертикальные цилиндрические РВС-10000 3 поверки 70296-18 70296-18 2018 Резервуары стальные вертикальные цилиндрические РВС-4000, РВС-5000, РВСП-5000, РВС-8000, РВС-10000 2 поверки 69704-17 69704-17 2017 Резервуар стальной вертикальный цилиндрический с понтоном РВСП-2000 2 поверки 31305-06 31305-06 2006 Комплексы измерительные АСН 2 поверки 17998-09 17998-09 2009 Полуприцепы-топливозаправщики БЦМ-44 мод. 96053, БЦМ-44.1 мод. 96053-01, БЦМ-44.4 мод. 96053-02 2 поверки 76115-19 76115-19 2019 Полуприцепы-цистерны ППЦ-36 и ППЦ-38 1 поверка 73044-18 73044-18 2018 Резервуары стальные вертикальные цилиндрические теплоизолированные РВС-2000, РВС-5000 1 поверка 65214-16 65214-16 2016 Полуприцепы-цистерны ППЦ-НЕФАЗ 1 поверка 70256-18 70256-18 2018 Резервуары стальные вертикальные цилиндрические РВС-700 1 поверка 63778-16 63778-16 2016 Автоцистерны и автотопливозаправщики БЦМ-229 1 поверка 59879-15 59879-15 2015 Прицепы-цистерны и полуприцепы-цистерны ПЦ и ППЦ 1 поверка 58711-14 58711-14 2014 Системы измерительные СТРУНА+ 1 поверка 51463-12 51463-12 2012 Автоцистерны БЦМ-177.1 мод. 6621-02, БЦМ-177.2 мод. 6621-03 1 поверка 22762-12 22762-12 2012 Комплексы измерительные АСН 1 поверка