Государственный реестр средств измерений (ГРСИ)

Расходомеры-счетчики ультразвуковые ЭМИС-УЛЬТРА 290, 95153-25

Расходомеры-счетчики ультразвуковые ЭМИС-УЛЬТРА 290 (далее - расходомер) предназначены для измерений объемного расхода и объема газа при рабочих условиях, объемного расхода и объема газа, приведенного к стандартным условиям, массового расхода и массы газа.
Карточка СИ
Номер в госреестре 95153-25
Наименование СИ Расходомеры-счетчики ультразвуковые
Обозначение типа СИ ЭМИС-УЛЬТРА 290
Изготовитель Акционерное общество "Электронные и механические измерительные системы" (АО "ЭМИС"), г. Челябинск
Год регистрации 2025
Срок свидетельства 11.04.2030
МПИ (интервал между поверками) 4 года
Описание типа скачать
Методика поверки скачать

Назначение

Расходомеры-счетчики ультразвуковые ЭМИС-УЛЬТРА 290 (далее - расходомер) предназначены для измерений объемного расхода и объема газа при рабочих условиях, объемного расхода и объема газа, приведенного к стандартным условиям, массового расхода и массы газа.

Описание

Принцип действия расходомеров основан на методе измерений разности между временем прохождения ультразвуковых импульсов по потоку и против потока газа. По разности времени прохождения ультразвуковых импульсов расходомеры определяют скорость проходящего газа и объемный расход при рабочих условиях, как в прямом, так и в обратном (реверсивном) направлениях потока газа. Расходомеры проводят расчет коэффициента сжимаемости газа для приведения измеренного объемного расхода и объема газа к стандартным условиям, вычисление массового расхода и массы газа.

Расходомеры имеют общепромышленное и взрывозащищенное исполнения.

Расходомеры в зависимости от модификации и исполнения состоят из:

- проточной части с установленными электроакустическими преобразователями;

- электронного блока с возможность подключения первичного измерительного преобразователя давления и первичного измерительного преобразователя температуры, которые устанавливаются в проточную часть или в трубопровод;

- участков измерительных.

Расходомеры изготавливаются в трех модификациях, которые отличаются исполнением электронного блока и наличием первичных измерительных преобразователей температуры и давления:

- базовая (обозначение - пустое знакоместо) - электронный блок без функции вычисления объемного расхода и объема газа, приведенного к стандартным условиям, массового расхода и массы газа и без возможности подключения первичных измерительных преобразователей температуры и давления;

- «ВВ1» - электронный блок c функцией вычисления объемного расхода и объема газа, приведенного к стандартным условиям, массового расхода и массы газа и наличием первичных измерительных преобразователей температуры и давления, при этом отсутствует возможность отключения первичных измерительных преобразователей температуры и давления от электронного блока во время поверки расходомера;

- «ВВ2» - электронный блок c функцией вычисления объемного расхода и объема газа, приведенного к стандартным условиям, массового расхода и массы газа и наличием первичных измерительных преобразователей температуры и давления, при этом при поверке производят отключение (подключение) первичных измерительных преобразователей температуры и давления от электронного блока.

Расходомер по типу присоединения электронного блока к проточной части может быть интегральным или дистанционным.

Базовая модификация обеспечивает выполнение измерений объемного расхода (объема) газа при рабочих условиях, модификации «ВВ1» и «ВВ2» дополнительно измеряют абсолютное давление и температуру газа, далее выполняют вычисление объемного расхода (объема) газа приведенного к стандартным условиям, вычисление массового расхода (массы) газа.

Расходомер осуществляет измерение, обработку, архивирование (в энергонезависимой памяти), отображение (на дисплее) и передачу (по интерфейсам связи) результатов измерений и вычислений.

Модификации «ВВ1» и «ВВ2» обеспечивают прием и обработку сигналов от первичных измерительных преобразователей абсолютного давления и температуры, измерение (вычисление) объема газа, приведенного к стандартным условиям по ГОСТ 2939-63, в соответствии с требованиями ГОСТ 8.611-2013 по методам, изложенным в ГСССД 8-79, ГСССД МР 113-03, ГСССД МР 118-2005, ГОСТ 30319 (2,3)-2015, ГОСТ Р 8.662-2009, ГОСТ Р 70927-2023, ГОСТ Р 8.770-2011, ГСССД МР 134-07. Для других газов приведение к стандартным условиям выполняется при внесении в электронный блок данных о плотности измеряемой среды (коэффициенте сжимаемости).

В качестве первичных измерительных преобразователей температуры используются платиновые термопреобразователи сопротивления классов АА, А по ГОСТ 6651-2009.

В качестве выходного сигнала от первичных измерительных преобразователей абсолютного давления может использоваться цифровой, или унифицированный аналоговый выходной сигнал силы, или напряжения постоянного тока.

Структура условного обозначения расходомеров:

ЭМИС-УЛЬТРА 290 Xi - Х2 - Хз— Х4— Х5— Хб— Х7— Х8— Х9— Х10- Х11— Х12- Х13— Х14— Х15— Х16— Х17— Х18- Х19- Х20,

где:

Х1 — модификация;

Х2 — взрывозащита;

Х3 — диаметр условного прохода;

Х4 — материал проточной части;

Х5 — давление измеряемой среды;

Х6 — температура измеряемой среды;

Х7 — электрическое питание;

Х8 — выходные сигналы;

Х9 — кабельный ввод №1;

Х10 — кабельный ввод №2;

Х11 — исполнение по диапазону расходов;

Х12 — Пределы допускаемой относительной погрешности измерений объемного расхода и объема газа при рабочих условиях в диапазоне Q t < Q < Qmax (указывается на маркировочной табличке);

Х13 — материал корпуса электронного блока;

Х14 — исполнение расходомера;

Х15 — наличие дисплея;

Х16 — уплотнительная поверхность;

Х17 — стандарт присоединения к процессу;

Х18 — строительная длина;

Х19 — участок измерительный;

Х20 — поверка.

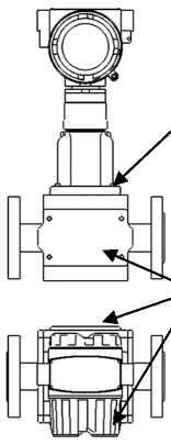
Внешний вид расходомеров, места нанесения пломб поверителя и пломб изготовителя или организации, осуществляющей ремонт, показаны на рисунке 1.

а) внешний вид расходомера-счетчика ультразвукового ЭМИС-УЛЬТРА 290 разных исполнений

б) варианты пломбировки расходомера-счетчика ультразвукового ЭМИС-УЛЬТРА 290 в зависимости от исполнения электронной блока

Места нанесения пломб изготовителя или организации осуществляющей ремонт

Места нанесения пломб поверителя

Места нанесения пломб газоснабжающими организациями

в) варианты пломбировки расходомера-счетчика ультразвукового ЭМИС-УЛЬТРА 290 в зависимости от исполнения корпуса расходомера

г) варианты пломбировки расходомера-счетчика ультразвукового ЭМИС-УЛЬТРА 290 в комплекте

с участками измерительными

Рисунок 1 - Общий вид расходомеров и места нанесения пломб поверителя и пломб изготовителя, организации осуществляющей ремонт или газоснабжающей организации

Знак утверждения типа и заводской номер расходомера наносятся на маркировочную табличку, которая расположена сверху на корпусе электронного блока, методом фотолитографии, полиграфическим способом или методом лазерной маркировки в цифровом коде, места расположения показаны на рисунке 2.

Знак поверки наносится в соответствующий раздел паспорта и (или) на бланк свидетельства о поверке, а также на пломбы поверителя.

Место нанесения заводского

Место нанесения заводского

Место нанесения знака утверждения типа

Место нанесения знака утверждения типа

ЯО 4ЛМИГ.М РОССИЯ

Рисунок 2 - Места расположения знака утверждения типа и заводского номера расходомера на маркировочной табличке

Программное обеспечение

Расходомеры имеют программное обеспечение (ПО), устанавливаемое в энергонезависимую память.

В процессе эксплуатации ПО не может быть изменено, так как конструкция расходомера (после пломбировки электронного блока в соответствии с рисунком 1 б) исключает возможность несанкционированного влияния на ПО и измерительную информацию.

Идентификационные данные ПО расходомеров приведены в таблице 1.

Таблица 1 - Индикационные данные ПО

Идентификационные данные (признаки)

Значение

Идентификационное наименование ПО

EU290

Номер версии (идентификационный номер) ПО, не ниже

1.Х*

Цифровой идентификатор

-

* X - обозначение версии метрологически незначимой части значения от 0 до 9. Версия ПО указывается в паспорте расходомера.

ПО, может принимать

Защита ПО от непреднамеренных и преднамеренных изменений соответствует уровню «высокий» согласно Р 50.2.077-2014.

Нормирование метрологических характеристик расходомеров проведено с учетом влияния ПО.

Технические характеристики

Метрологические и основные технические характеристики расходомеров приведены в таблицах 2 - 3.

Таблицы 2 - Метрологические характеристики

Наименование характеристики

Значение

Диапазон измерений объемного расхода, м3/ч

от 0,4 до 665 0001)

Пределы допускаемой относительной погрешности измерений объемного расхода и объема газа при рабочих условиях2), %

- в диапазоне Qmin < Q3) < Qt3)

- в диапазоне Qt3) < Q3) < Qmax

±0,9 (±1,1); ±1,0 (±1,2); ±1,1 (±1,3); ±1,4 (±1,6);

±1,5 (±1,7); ±1,7 (±1,9); ±2,0 (±2,2); ±2,5 (±2,7);

±3,0 (3,2); ±3,5 (±3,7);

±0,5 (±0,7); ±0,7 (±0,9); ±0,9 (±1,1); ±1,0 (±1,2);

±1,4 (±1,6); ±1,5 (±1,7); ±1,7 (±1,9); ±2,0 (±2,2);

±2,5 (±2,7); ±3,0 (±3,2);

Пределы допускаемой относительной погрешности измерения объемного расхода и объема газа, приведенного к стандартным условиям, массового расхода и массы газа 2), % - в диапазоне Qmin < Q < Qt3)

- в диапазоне Qt < Q < Qmax3)

±1,0 (±1,2); ±1,4 (±1,6); ±1,5 (±1,7); ±1,7 (±1,9);

±2,0 (±2,2); ±2,1 (±2,3); ±2,5 (±2,7); ±3,0 (±3,2);

±3,3 (±3,5); ±4,0 (±4,2);

±0,75 (±1,0); ±1,0 (±1,2); ± 1,1 (±1,3); ±1,4 (±1,6);

±1,5 (±1,7); ±1,7 (±1,9); ±2,0 (±2,2); ±2,5 (±2,7);

±3,0 (±3,2); ±4,0 (±4,2)

Продолжение таблицы 2

Наименование характеристики

Значение

Пределы допускаемой приведенной погрешности к диапазону измерений при преобразовании цифрового значения в аналоговый выходной сигнал силы постоянного тока от 4 до 20 мА, %

±0,05

Примечания:

1 - указаны минимальное и максимальное значение объемного расхода газа при рабочих условиях для всех исполнений расходомеров, конкретное значение Qmin (наименьший объемный расход) и Qmax (наибольший объемный расход) указываются в паспорте;

2 - выбирается из ряда, конкретное значение указывается в паспорте на расходомер;

3 - Q - измеряемый объемный расход, м3/ч; Qt - переходный объемный расход, м3/ч (конкретное значение Qt указывается в паспорте и может принимать значения от 0,05 до 0,15 от Qmax).

4 - В скобках указаны погрешности при имитационной поверке (применима для расходомеров не менее Ду 50 мм).

Таблица 3 - Основные технические характеристики

Наименование характеристики

Значение

Номинальный диаметр условного прохода (Ду)

от 25 до 1400

Выходные сигналы (модификации «ВВ1» и «ВВ2»)

Аналоговые: Частотный (от 0 до 10000 Гц), Импульсный, Токовый 4-20 мА, Namur

Цифровые: HART не ниже v.5 Modbus RTU по интерфейсам, RS485, Fieldbus, Profibus, USB. Беспроводные:

GSM, GPRS, LoraWAN, Bluetooth, IrDA (ИК-порт)

Параметры рабочей среды:

- температура, °С

- абсолютное давление, не более, МПа

от -70 до +2501) 161)

Рабочие условия эксплуатации:

- температура окружающей среды, °С

- атмосферное давление, кПа

- относительная влажность окружающего воздуха при температуре +35 °С, %, не более

от -60 до +70 от 84 до 106,7

98 (без конденсации влаги)

Параметры электропитания от источника постоянного тока

- номинальное напряжение, В

3,6 или 24

Параметры электропитания от источника переменного тока

- номинальное напряжение, В

230

Продолжение таблицы 3

Наименование характеристики

Значение

Маркировка взрывозащиты - исполнение Ex

- исполнение Exia

- исполнение Вн

- исполнение Exdib

- исполнение Exdb

- исполнение Exibd

1Ех ib IIB T2...T6 Gb X

1Ех ib IIC T2...T6 Gb X

0Ех ia IIB T2...T6 Ga X

0Ех ia IIC T2...T6 Ga X

1Ех db IIB T2...T6 Gb X

1Ех db IIC T2...T6 Gb X

1Ех db ib [ia Ga] IIC T2.T6 Gb

1Ех db [ia Ga] IIC T2...T6 Gb

1Ех ib db IIC T2...T6 X

Габаритные размеры

в соответствии с руководством по эксплуатации на расходомер

Масса, кг, не более

в соответствии с руководством по эксплуатации на расходомер

Примечания:

1 - конкретное значение указывается в паспорте на расходомер.

Таблица 4 - Показатели надежности

Наименование характеристики

Значение

Средний срок службы, лет

15

Знак утверждения типа

наносится на маркировочную табличку на корпусе расходомера и на титульные листы паспорта и руководства по эксплуатации расходомера.

Комплектность

Таблица 5 - Комплектность

Наименование

Обозначение

Количество

Расходомер-счетчик ультразвуковой

ЭМИС-УЛЬТРА 290 (модификация и исполнение согласно договора поставки)

1 шт.

Участок измерительный

-

По заказу

Руководство по эксплуатации

ЭУ 290.00.00.РЭ

1 экз.

Паспорт

ЭУ 290.00.00.ПС

1 экз.

Сведения о методах измерений

приведены в Приложении В документа «Руководство по эксплуатации. Расходомеры-счетчики ультразвуковые ЭМИС-УЛЬТРА 290» ЭУ 290.00.00.РЭ.

Нормативные документы

Постановление Правительства Российской Федерации от 16 ноября 2020 г. № 1847 «Об утверждении перечня измерений, относящихся к сфере государственного регулирования обеспечения единства измерений» (в части п. 6.6 и п. 6.7);

Приказ Федерального агентства по техническому регулированию и метрологии от 11 мая 2022 г. № 1133 «Об утверждении государственной поверочной схемы для средств измерений объемного и массового расходов газа»;

Приказ Федерального агентства по техническому регулированию и метрологии от 6 декабря 2019 г. № 2900 «Об утверждении Государственной поверочной схемы для средств измерений абсолютного давления в диапазоне от 1-10’1 до 1-107 Па»;

Приказ Федерального агентства по техническому регулированию и метрологии от 19 ноября 2024 г. № 2712 «Об утверждении Государственной поверочной схемы для средств измерений температуры»;

ГОСТ 8.611-2013. Расход и количество газа. Методика (метод) измерений с помощью ультразвуковых преобразователей расхода;

ТУ 26.51.52-104-14145564-2024 «Расходомеры-счетчики ультразвуковые

ЭМИС-УЛЬТРА 290. Технические условия».

95153-25
Номер в ГРСИ РФ:
95153-25
Производитель / заявитель:
Акционерное общество "Электронные и механические измерительные системы" (АО "ЭМИС"), г. Челябинск
Год регистрации:
2025
Cрок действия реестра:
11.04.2030
Похожие СИ
98483-26
98483-26
2026
Общество с ограниченной ответственностью Научно-производственное предприятие «ЭЛЕМЕР»
Срок действия реестра: 13.05.2031
98484-26
98484-26
2026
«Hangzhou Analyzer System Integration Ltd»
Срок действия реестра: 13.05.2031
98485-26
98485-26
2026
CHANGZHOU TONGHUI ELECTRONICS CO., LTD
Срок действия реестра: 13.05.2031
98487-26
98487-26
2026
Производственная площадка. Shaanxi Zhiyuan Kefeng Optoelectronic Technology Co., Ltd
Срок действия реестра: 13.05.2031
98490-26
98490-26
2026
«Shenzhen ION Engineering Technologies LTD.»
Срок действия реестра: 13.05.2031
98491-26
98491-26
2026
Акционерное общество «Диаконт»
Срок действия реестра: 13.05.2031