 76520-19
                                                                            2019
                                                                    
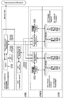
                                Система автоматизированная информационно-измерительная коммерческого учета электроэнергии (АИИС КУЭ) СЭС "Тарбагатай"
                                
                                                                        2
                                    поверки
                                
                                
                                    76520-19
                                                                            2019
                                                                    
                                Система автоматизированная информационно-измерительная коммерческого учета электроэнергии (АИИС КУЭ) СЭС "Тарбагатай"
                                
                                                                        2
                                    поверки
                                                                    
                            
                                                        
                                
                                 76412-19
                                                                            2019
                                                                    
                                Система автоматизированная информационно-измерительная коммерческого учета электроэнергии (АИИС КУЭ) ООО "ППК" Октябрьская СЭС
                                
                                                                        2
                                    поверки
                                
                                
                                    76412-19
                                                                            2019
                                                                    
                                Система автоматизированная информационно-измерительная коммерческого учета электроэнергии (АИИС КУЭ) ООО "ППК" Октябрьская СЭС
                                
                                                                        2
                                    поверки
                                                                    
                            
                                                        
                                
                                 76168-19
                                                                            2019
                                                                    
                                Система автоматизированная информационно-измерительная коммерческого учета электроэнергии (АИИС КУЭ) АО "ПЭС"
                                
                                                                        2
                                    поверки
                                
                                
                                    76168-19
                                                                            2019
                                                                    
                                Система автоматизированная информационно-измерительная коммерческого учета электроэнергии (АИИС КУЭ) АО "ПЭС"
                                
                                                                        2
                                    поверки
                                                                    
                            
                                                        
                                
                                 76088-19
                                                                            2019
                                                                    
                                Система автоматизированная информационно-измерительная коммерческого учета электроэнергии (АИИС КУЭ) ПНС-11, ПНС-15 ООО "ТСН"
                                
                                                                        2
                                    поверки
                                
                                
                                    76088-19
                                                                            2019
                                                                    
                                Система автоматизированная информационно-измерительная коммерческого учета электроэнергии (АИИС КУЭ) ПНС-11, ПНС-15 ООО "ТСН"
                                
                                                                        2
                                    поверки
                                                                    
                            
                                                        
                                
                                 75712-19
                                                                            2019
                                                                    
                                Система автоматизированная информационно-измерительная коммерческого учета электроэнергии (АИИС КУЭ) ПНС-16 АО "МТСК"
                                
                                                                        2
                                    поверки
                                
                                
                                    75712-19
                                                                            2019
                                                                    
                                Система автоматизированная информационно-измерительная коммерческого учета электроэнергии (АИИС КУЭ) ПНС-16 АО "МТСК"
                                
                                                                        2
                                    поверки
                                                                    
                            
                                                        
                                
                                 75403-19
                                                                            2019
                                                                    
                                Система автоматизированная информационно-измерительная коммерческого учета электроэнергии (АИИС КУЭ) АО "ЛКЗ"
                                
                                                                        2
                                    поверки
                                
                                
                                    75403-19
                                                                            2019
                                                                    
                                Система автоматизированная информационно-измерительная коммерческого учета электроэнергии (АИИС КУЭ) АО "ЛКЗ"
                                
                                                                        2
                                    поверки
                                                                    
                            
                                                        
                                
                                 75180-19
                                                                            2019
                                                                    
                                Система автоматизированная информационно-измерительная коммерческого учета электроэнергии (АИИС КУЭ) "Комплекс по перегрузке сжиженных углеводородных газов "СУГ" в Морском торговом порту "Усть-Луга"
                                
                                                                        2
                                    поверки
                                
                                
                                    75180-19
                                                                            2019
                                                                    
                                Система автоматизированная информационно-измерительная коммерческого учета электроэнергии (АИИС КУЭ) "Комплекс по перегрузке сжиженных углеводородных газов "СУГ" в Морском торговом порту "Усть-Луга"
                                
                                                                        2
                                    поверки
                                                                    
                            
                                                        
                                
                                 75144-19
                                                                            2019
                                                                    
                                Система автоматизированная информационно-измерительная коммерческого учета электроэнергии (АИИС КУЭ) ООО "Солар Системс" (Старомарьевская солнечная электростанция)
                                
                                                                        2
                                    поверки
                                
                                
                                    75144-19
                                                                            2019
                                                                    
                                Система автоматизированная информационно-измерительная коммерческого учета электроэнергии (АИИС КУЭ) ООО "Солар Системс" (Старомарьевская солнечная электростанция)
                                
                                                                        2
                                    поверки
                                                                    
                            
                                                        
                                
                                 74863-19
                                                                            2019
                                                                    
                                Система автоматизированная информационно-измерительная коммерческого учета электроэнергии (АИИС КУЭ) ООО "Витекс" 3 очередь
                                
                                                                        2
                                    поверки
                                
                                
                                    74863-19
                                                                            2019
                                                                    
                                Система автоматизированная информационно-измерительная коммерческого учета электроэнергии (АИИС КУЭ) ООО "Витекс" 3 очередь
                                
                                                                        2
                                    поверки
                                                                    
                            
                                                        
                                
                                 74664-19
                                                                            2019
                                                                    
                                Система автоматизированная информационно-измерительная коммерческого учета электроэнергии (АИИС КУЭ) СЭС Элиста Северная
                                
                                                                        2
                                    поверки
                                
                                
                                    74664-19
                                                                            2019
                                                                    
                                Система автоматизированная информационно-измерительная коммерческого учета электроэнергии (АИИС КУЭ) СЭС Элиста Северная
                                
                                                                        2
                                    поверки
                                                                    
                            
                                                        
                                
                                 74663-19
                                                                            2019
                                                                    
                                Система автоматизированная информационно-измерительная коммерческого учета электроэнергии (АИИС КУЭ) СЭС Михайловская
                                
                                                                        2
                                    поверки
                                
                                
                                    74663-19
                                                                            2019
                                                                    
                                Система автоматизированная информационно-измерительная коммерческого учета электроэнергии (АИИС КУЭ) СЭС Михайловская
                                
                                                                        2
                                    поверки
                                                                    
                            
                                                        
                                
                                 74322-19
                                                                            2019
                                                                    
                                Система автоматизированная информационно-измерительная коммерческого учета электроэнергии (АИИС КУЭ) АО "БийскэнергоТеплоТранзит"
                                
                                                                        2
                                    поверки
                                
                                
                                    74322-19
                                                                            2019
                                                                    
                                Система автоматизированная информационно-измерительная коммерческого учета электроэнергии (АИИС КУЭ) АО "БийскэнергоТеплоТранзит"
                                
                                                                        2
                                    поверки
                                                                    
                            
                                                        
                                
                                 72541-18
                                                                            2018
                                                                    
                                Система автоматизированная информационно-измерительная коммерческого учета электроэнергии (АИИС КУЭ) ОАО "Саратовнефтегаз" (1-я очередь)
                                
                                                                        2
                                    поверки
                                
                                
                                    72541-18
                                                                            2018
                                                                    
                                Система автоматизированная информационно-измерительная коммерческого учета электроэнергии (АИИС КУЭ) ОАО "Саратовнефтегаз" (1-я очередь)
                                
                                                                        2
                                    поверки
                                                                    
                            
                                                        
                                
                                 71524-18
                                                                            2018
                                                                    
                                Система автоматизированная информационно-измерительная коммерческого учета электроэнергии (АИИС КУЭ) ОАО "Стойленский ГОК"
                                
                                                                        2
                                    поверки
                                
                                
                                    71524-18
                                                                            2018
                                                                    
                                Система автоматизированная информационно-измерительная коммерческого учета электроэнергии (АИИС КУЭ) ОАО "Стойленский ГОК"
                                
                                                                        2
                                    поверки
                                                                    
                            
                                                        
                                
                                 71395-18
                                                                            2018
                                                                    
                                Система автоматизированная информационно-измерительная коммерческого учета электроэнергии ООО "КрасКом"
                                
                                                                        2
                                    поверки
                                
                                
                                    71395-18
                                                                            2018
                                                                    
                                Система автоматизированная информационно-измерительная коммерческого учета электроэнергии ООО "КрасКом"
                                
                                                                        2
                                    поверки
                                                                    
                            
                                                        
                                
                                 71246-18
                                                                            2018
                                                                    
                                Счетчики электрической энергии статические однофазные Меркурий 206
                                
                                                                        2
                                    поверки
                                
                                
                                    71246-18
                                                                            2018
                                                                    
                                Счетчики электрической энергии статические однофазные Меркурий 206
                                
                                                                        2
                                    поверки
                                                                    
                            
                                                        
                                
                                 70734-18
                                                                            2018
                                                                    
                                Система автоматизированная информационно-измерительная коммерческого учета электроэнергии (АИИС КУЭ) АО "УНС"
                                
                                                                        2
                                    поверки
                                
                                
                                    70734-18
                                                                            2018
                                                                    
                                Система автоматизированная информационно-измерительная коммерческого учета электроэнергии (АИИС КУЭ) АО "УНС"
                                
                                                                        2
                                    поверки
                                                                    
                            
                                                        
                                
                                 70536-18
                                                                            2018
                                                                    
                                Система автоматизированная информационно-измерительная коммерческого учета электроэнергии (АИИС КУЭ) АО "КМА-Энергосбыт" (для электроснабжения подразделений ПАО "МегаФон")
                                
                                                                        2
                                    поверки
                                
                                
                                    70536-18
                                                                            2018
                                                                    
                                Система автоматизированная информационно-измерительная коммерческого учета электроэнергии (АИИС КУЭ) АО "КМА-Энергосбыт" (для электроснабжения подразделений ПАО "МегаФон")
                                
                                                                        2
                                    поверки
                                                                    
                            
                                                        
                                
                                 70535-18
                                                                            2018
                                                                    
                                Система автоматизированная информационно-измерительная коммерческого учета электроэнергии (АИИС КУЭ) АО "КМА-Энергосбыт" (для электроснабжения подразделений ООО "Мэйл.ру")
                                
                                                                        2
                                    поверки
                                
                                
                                    70535-18
                                                                            2018
                                                                    
                                Система автоматизированная информационно-измерительная коммерческого учета электроэнергии (АИИС КУЭ) АО "КМА-Энергосбыт" (для электроснабжения подразделений ООО "Мэйл.ру")
                                
                                                                        2
                                    поверки
                                                                    
                            
                                                        
                                
                                 57274-14
                                                                            2014
                                                                    
                                Трансформаторы напряжения НАМИ-10
                                
                                                                        2
                                    поверки
                                
                                
                                    57274-14
                                                                            2014
                                                                    
                                Трансформаторы напряжения НАМИ-10
                                
                                                                        2
                                    поверки
                                                                    
                            
                                                        
                                
                                 69694-17
                                                                            2017
                                                                    
                                Система автоматизированная информационно-измерительная коммерческого учета электроэнергии (АИИС КУЭ) ООО "Гусевский арматурный завод "Гусар" 2-ая очередь
                                
                                                                        2
                                    поверки
                                
                                
                                    69694-17
                                                                            2017
                                                                    
                                Система автоматизированная информационно-измерительная коммерческого учета электроэнергии (АИИС КУЭ) ООО "Гусевский арматурный завод "Гусар" 2-ая очередь
                                
                                                                        2
                                    поверки
                                                                    
                            
                                                        
                                
                                 53918-13
                                                                            2013
                                                                    
                                Счетчики электрической энергии трехфазные ЗЕВС 3ху
                                
                                                                        2
                                    поверки
                                
                                
                                    53918-13
                                                                            2013
                                                                    
                                Счетчики электрической энергии трехфазные ЗЕВС 3ху
                                
                                                                        2
                                    поверки
                                                                    
                            
                                                        
                                
                                 68424-17
                                                                            2017
                                                                    
                                Система автоматизированная информационно-измерительная коммерческого учета электрической энергии (мощности) (АИИС КУЭ) филиала АО "Татэнерго" - Казанская ТЭЦ-1
                                
                                                                        2
                                    поверки
                                
                                
                                    68424-17
                                                                            2017
                                                                    
                                Система автоматизированная информационно-измерительная коммерческого учета электрической энергии (мощности) (АИИС КУЭ) филиала АО "Татэнерго" - Казанская ТЭЦ-1
                                
                                                                        2
                                    поверки
                                                                    
                            
                                                        
                                
                                 67783-17
                                                                            2017
                                                                    
                                Система автоматизированная информационно-измерительная коммерческого учета электроэнергии (АИИС КУЭ) ООО "Промканал-техно"
                                
                                                                        2
                                    поверки
                                
                                
                                    67783-17
                                                                            2017
                                                                    
                                Система автоматизированная информационно-измерительная коммерческого учета электроэнергии (АИИС КУЭ) ООО "Промканал-техно"
                                
                                                                        2
                                    поверки
                                                                    
                            
                                                        
                                
                                 67667-17
                                                                            2017
                                                                    
                                Система автоматизированная информационно-измерительная коммерческого учета электроэнергии (АИИС КУЭ) ПАО "КХП "Тихорецкий" (ТП-2 Котельная)
                                
                                                                        2
                                    поверки
                                
                                
                                    67667-17
                                                                            2017
                                                                    
                                Система автоматизированная информационно-измерительная коммерческого учета электроэнергии (АИИС КУЭ) ПАО "КХП "Тихорецкий" (ТП-2 Котельная)
                                
                                                                        2
                                    поверки
                                                                    
                            
                                                        
                                
                                 67451-17
                                                                            2017
                                                                    
                                Система автоматизированная информационно-измерительная коммерческого учета электроэнергии (АИИС КУЭ) ООО "ХЭСК" по объектам АО "Апатит", АО "ХТК"
                                
                                                                        2
                                    поверки
                                
                                
                                    67451-17
                                                                            2017
                                                                    
                                Система автоматизированная информационно-измерительная коммерческого учета электроэнергии (АИИС КУЭ) ООО "ХЭСК" по объектам АО "Апатит", АО "ХТК"
                                
                                                                        2
                                    поверки
                                                                    
                            
                                                        
                                
                                 67121-17
                                                                            2017
                                                                    
                                Система автоматизированная информационно-измерительная коммерческого учета электроэнергии (АИИС КУЭ) ООО "Сан Проджектс"
                                
                                                                        2
                                    поверки
                                
                                
                                    67121-17
                                                                            2017
                                                                    
                                Система автоматизированная информационно-измерительная коммерческого учета электроэнергии (АИИС КУЭ) ООО "Сан Проджектс"
                                
                                                                        2
                                    поверки
                                                                    
                            
                                                        
                                
                                 67032-17
                                                                            2017
                                                                    
                                Система автоматизированная информационно-измерительная коммерческого учета электроэнергии (АИИС КУЭ) ООО "ГАЗПРОМНЕФТЬ-ХАНТОС"
                                
                                                                        2
                                    поверки
                                
                                
                                    67032-17
                                                                            2017
                                                                    
                                Система автоматизированная информационно-измерительная коммерческого учета электроэнергии (АИИС КУЭ) ООО "ГАЗПРОМНЕФТЬ-ХАНТОС"
                                
                                                                        2
                                    поверки
                                                                    
                            
                                                        
                                
                                 51199-18
                                                                            2018
                                                                    
                                Трансформаторы напряжения НТМИ-6 У3, НТМИ-10 У3
                                
                                                                        2
                                    поверки
                                
                                
                                    51199-18
                                                                            2018
                                                                    
                                Трансформаторы напряжения НТМИ-6 У3, НТМИ-10 У3
                                
                                                                        2
                                    поверки
                                                                    
                            
                                                        
                                
                                 65801-16
                                                                            2016
                                                                    
                                Система автоматизированная информационно-измерительная коммерческого учета электроэнергии филиала "Рефтинская ГРЭС" ПАО "Энел Россия"
                                
                                                                        2
                                    поверки
                                
                                
                                    65801-16
                                                                            2016
                                                                    
                                Система автоматизированная информационно-измерительная коммерческого учета электроэнергии филиала "Рефтинская ГРЭС" ПАО "Энел Россия"
                                
                                                                        2
                                    поверки
                                                                    
                            
                                                        
                                
                                 65703-16
                                                                            2016
                                                                    
                                Система автоматизированная информационно-измерительная коммерческого учета электроэнергии (АИИС КУЭ) ООО "ХЭСК" по объекту АО "ХТК"
                                
                                                                        2
                                    поверки
                                
                                
                                    65703-16
                                                                            2016
                                                                    
                                Система автоматизированная информационно-измерительная коммерческого учета электроэнергии (АИИС КУЭ) ООО "ХЭСК" по объекту АО "ХТК"
                                
                                                                        2
                                    поверки
                                                                    
                            
                                                        
                                
                                 64873-16
                                                                            2016
                                                                    
                                Система автоматизированная информационно-измерительная коммерческого учета электроэнергии (АИИС КУЭ) перекачивающих насосных станций АО "Красноярская теплотранспортная компания"
                                
                                                                        2
                                    поверки
                                
                                
                                    64873-16
                                                                            2016
                                                                    
                                Система автоматизированная информационно-измерительная коммерческого учета электроэнергии (АИИС КУЭ) перекачивающих насосных станций АО "Красноярская теплотранспортная компания"
                                
                                                                        2
                                    поверки
                                                                    
                            
                                                        
                                
                                 64771-16
                                                                            2016
                                                                    
                                Система автоматизированная информационно-измерительная коммерческого учета электроэнергии (АИИС КУЭ) ООО "АРСТЭМ-ЭнергоТрейд" для электроснабжения Производственного кооператива - Артель старателей "Невьянский прииск"
                                
                                                                        2
                                    поверки
                                
                                
                                    64771-16
                                                                            2016
                                                                    
                                Система автоматизированная информационно-измерительная коммерческого учета электроэнергии (АИИС КУЭ) ООО "АРСТЭМ-ЭнергоТрейд" для электроснабжения Производственного кооператива - Артель старателей "Невьянский прииск"
                                
                                                                        2
                                    поверки
                                                                    
                            
                                                        
                                
                                 49070-12
                                                                            2012
                                                                    
                                Счетчики электрической энергии статические СЭО-1.15
                                
                                                                        2
                                    поверки
                                
                                
                                    49070-12
                                                                            2012
                                                                    
                                Счетчики электрической энергии статические СЭО-1.15
                                
                                                                        2
                                    поверки
                                                                    
                            
                                                        
                                
                                 63927-16
                                                                            2016
                                                                    
                                Система автоматизированная информационно-измерительная коммерческого учета электроэнергии (АИИС КУЭ) ООО "Ивановоэнергосбыт" по объекту ООО "МАК-Иваново"
                                
                                                                        2
                                    поверки
                                
                                
                                    63927-16
                                                                            2016
                                                                    
                                Система автоматизированная информационно-измерительная коммерческого учета электроэнергии (АИИС КУЭ) ООО "Ивановоэнергосбыт" по объекту ООО "МАК-Иваново"
                                
                                                                        2
                                    поверки
                                                                    
                            
                                                        
                                
                                 63919-16
                                                                            2016
                                                                    
                                Система автоматизированная информационно-измерительная коммерческого учета электроэнергии (мощности) (АИИС КУЭ) "ООО "Каскад-Энергосбыт" - Регионы" (4 очередь)
                                
                                                                        2
                                    поверки
                                
                                
                                    63919-16
                                                                            2016
                                                                    
                                Система автоматизированная информационно-измерительная коммерческого учета электроэнергии (мощности) (АИИС КУЭ) "ООО "Каскад-Энергосбыт" - Регионы" (4 очередь)
                                
                                                                        2
                                    поверки
                                                                    
                            
                                                        
                                
                                 63296-16
                                                                            2016
                                                                    
                                Система автоматизированная информационно-измерительная коммерческого учета электроэнергии (АИИС КУЭ) АО "РБ групп" филиал "Владимирский полиэфир"
                                
                                                                        2
                                    поверки
                                
                                
                                    63296-16
                                                                            2016
                                                                    
                                Система автоматизированная информационно-измерительная коммерческого учета электроэнергии (АИИС КУЭ) АО "РБ групп" филиал "Владимирский полиэфир"
                                
                                                                        2
                                    поверки
                                                                    
                            
                                                        
                                
                                 62777-15
                                                                            2015
                                                                    
                                Система автоматизированная информационно-измерительная коммерческого учета электроэнергии (АИИС КУЭ) филиала АО "Корпорация "ГРИНН" Гипермаркет "ЛИНИЯ-3", 302016, г. Орел, Карачевское шоссе, д. 74
                                
                                                                        2
                                    поверки
                                
                                
                                    62777-15
                                                                            2015
                                                                    
                                Система автоматизированная информационно-измерительная коммерческого учета электроэнергии (АИИС КУЭ) филиала АО "Корпорация "ГРИНН" Гипермаркет "ЛИНИЯ-3", 302016, г. Орел, Карачевское шоссе, д. 74
                                
                                                                        2
                                    поверки
                                                                    
                            
                                                        
                                
                                 62686-15
                                                                            2015
                                                                    
                                Система автоматизированная информационно-измерительная коммерческого учета электроэнергии (АИИС КУЭ) ООО "Беко"
                                
                                                                        2
                                    поверки
                                
                                
                                    62686-15
                                                                            2015
                                                                    
                                Система автоматизированная информационно-измерительная коммерческого учета электроэнергии (АИИС КУЭ) ООО "Беко"
                                
                                                                        2
                                    поверки
                                                                    
                            
                                                        
                                
                                 62674-15
                                                                            2015
                                                                    
                                Система автоматизированная информационно-измерительная коммерческого учета электроэнергии (АИИС КУЭ) ОАО "Газпром нефтехим Салават"
                                
                                                                        2
                                    поверки
                                
                                
                                    62674-15
                                                                            2015
                                                                    
                                Система автоматизированная информационно-измерительная коммерческого учета электроэнергии (АИИС КУЭ) ОАО "Газпром нефтехим Салават"
                                
                                                                        2
                                    поверки
                                                                    
                            
                                                        
                                
                                 62190-15
                                                                            2015
                                                                    
                                Система автоматизированная информационно-измерительная коммерческого учета электроэнергии (АИИС КУЭ) ООО "Гусевский арматурный завод "Гусар"
                                
                                                                        2
                                    поверки
                                
                                
                                    62190-15
                                                                            2015
                                                                    
                                Система автоматизированная информационно-измерительная коммерческого учета электроэнергии (АИИС КУЭ) ООО "Гусевский арматурный завод "Гусар"
                                
                                                                        2
                                    поверки
                                                                    
                            
                                                        
                                
                                 61202-15
                                                                            2015
                                                                    
                                Система автоматизированная информационно-измерительная коммерческого учета электроэнергии (АИИС КУЭ) ООО "Капитал" по объекту ООО "Демидовский фанерный комбинат"
                                
                                                                        2
                                    поверки
                                
                                
                                    61202-15
                                                                            2015
                                                                    
                                Система автоматизированная информационно-измерительная коммерческого учета электроэнергии (АИИС КУЭ) ООО "Капитал" по объекту ООО "Демидовский фанерный комбинат"
                                
                                                                        2
                                    поверки
                                                                    
                            
                                                        
                                
                                 60879-15
                                                                            2015
                                                                    
                                Система автоматизированная информационно-измерительная коммерческого учета электроэнергии (АИИС КУЭ) ООО "Винербергер Кирпич"
                                
                                                                        2
                                    поверки
                                
                                
                                    60879-15
                                                                            2015
                                                                    
                                Система автоматизированная информационно-измерительная коммерческого учета электроэнергии (АИИС КУЭ) ООО "Винербергер Кирпич"
                                
                                                                        2
                                    поверки
                                                                    
                            
                                                        
                                
                                 60649-15
                                                                            2015
                                                                    
                                Система автоматизированная информационно-измерительная коммерческого учета электроэнергии (АИИС КУЭ) ОАО "Сибур-ПЭТФ" 4 очередь
                                
                                                                        2
                                    поверки
                                
                                
                                    60649-15
                                                                            2015
                                                                    
                                Система автоматизированная информационно-измерительная коммерческого учета электроэнергии (АИИС КУЭ) ОАО "Сибур-ПЭТФ" 4 очередь
                                
                                                                        2
                                    поверки
                                                                    
                            
                                                        
                                
                                 60639-15
                                                                            2015
                                                                    
                                Система автоматизированная информационно-измерительная коммерческого учета электроэнергии (АИИС КУЭ) ООО "БИАКСПЛЕН НК"
                                
                                                                        2
                                    поверки
                                
                                
                                    60639-15
                                                                            2015
                                                                    
                                Система автоматизированная информационно-измерительная коммерческого учета электроэнергии (АИИС КУЭ) ООО "БИАКСПЛЕН НК"
                                
                                                                        2
                                    поверки
                                                                    
                            
                                                        
                                
                                 57576-14
                                                                            2014
                                                                    
                                Система автоматизированная информационно-измерительная коммерческого учета электроэнергии (АИИС КУЭ) ОАО "Псковэнергосбыт"
                                
                                                                        2
                                    поверки
                                
                                
                                    57576-14
                                                                            2014
                                                                    
                                Система автоматизированная информационно-измерительная коммерческого учета электроэнергии (АИИС КУЭ) ОАО "Псковэнергосбыт"
                                
                                                                        2
                                    поверки
                                                                    
                            
                                                        
                                
                                 57566-14
                                                                            2014
                                                                    
                                Система автоматизированная информационно-измерительная коммерческого учета электрической энергии ООО "Газпромнефть-Восток" - ПС Урманская, Шингинская
                                
                                                                        2
                                    поверки
                                
                                
                                    57566-14
                                                                            2014
                                                                    
                                Система автоматизированная информационно-измерительная коммерческого учета электрической энергии ООО "Газпромнефть-Восток" - ПС Урманская, Шингинская
                                
                                                                        2
                                    поверки
                                                                    
                            
                                                        
                                
                                 46802-11
                                                                            2011
                                                                    
                                Трансформаторы напряжения трехфазной антирезонансной группы НАЛИ-СЭЩ-35
                                
                                                                        2
                                    поверки
                                
                                
                                    46802-11
                                                                            2011
                                                                    
                                Трансформаторы напряжения трехфазной антирезонансной группы НАЛИ-СЭЩ-35
                                
                                                                        2
                                    поверки
                                                                    
                            
                                                        
                                
                                 54965-13
                                                                            2013
                                                                    
                                Система автоматизированная информационно-измерительная коммерческого учета электроэнергии (АИИС КУЭ) ООО "МЕТРО Кэш энд Керри" 2013
                                
                                                                        2
                                    поверки
                                
                                
                                    54965-13
                                                                            2013
                                                                    
                                Система автоматизированная информационно-измерительная коммерческого учета электроэнергии (АИИС КУЭ) ООО "МЕТРО Кэш энд Керри" 2013
                                
                                                                        2
                                    поверки
                                                                    
                            
                                                        
                                
                                 54806-13
                                                                            2013
                                                                    
                                Система автоматизированная информационно-измерительная коммерческого учета электроэнергии (АИИС КУЭ) ОАО "Костромская сбытовая компания"
                                
                                                                        2
                                    поверки
                                
                                
                                    54806-13
                                                                            2013
                                                                    
                                Система автоматизированная информационно-измерительная коммерческого учета электроэнергии (АИИС КУЭ) ОАО "Костромская сбытовая компания"
                                
                                                                        2
                                    поверки